RASK LEVERING
HØYKVALITETS PRODUKTER
Min side
Registrer
Logg inn
Logg inn
Registrer deg
Vis handlekurv
Handlekurven er tom
0
Total sum:
kr 0,00
Vis priser inkl. MVA
Nullstill
Våre varemerker
Reservedeler
Verktøy og maskiner
Aggregater
Båtaggregater
Bil monterte aggegater
Bensinmodeller
Diesel modeller
Inverter og fritid
Nødstrøm
Traktoraggergater
Sveiseaggregater
Utstyr
Lystårn
Nødstrøm
Elektroverktøy
Benkslipere
Bor - Skrutrekker
Multihammere
Multikuttere
Muttertrekkere
Sirkelsag
Stikksager
Vinkelslipere
Bits og bor
Kantfres
Høvelbenker og utstyr
Høvelbenker
Skap
Tileggsutstyr høvelbenker
Beslag og korkbeskyttelse
Benkehaker
Spenner og klemmer
Sager
Bordsager
Båndsager
Dykksager
Håndsirkelsager
Kapp- og gjerdingssager
Kontursager
Stikksager
Multimaskiner
Sagblader og utstyr
Slipemaskiner
Våtslipemaskiner
Benkslipemaskiner
Pussebånd og utstyr
Andre slipemaskiner
Tilbehør Benksliper
Båndslipere
Trebearbeiding
Bordsager
Dreibenker
Fresemaskiner
Høvler
Pussemaskiner
Sponavsug
Utstyr Sponavsug
Dreiejern
Dreiechucker
Treforming/Tretyggere
Utstyr
Båndsager
Trykkluft
Kompressorer
Trykkluftverktøy
Vedlikehold og deler
Luftfyllere og blåsepistoler
Luftkoblinger
Luftslanger
Tilbehør og utstyr
Treforming
Bor
Sagblader
Pussebånd og rondeller
Spiker
Slipepapir og tilbehør
Tilbehør Dykksager
Tilbehør benkslipemaskiner
Puss og slip
Bukker og understell
Diamant slipeskive
Verktøy
Treskjæring verktøy
Verktøytraller
Tørkepapirholdere
Tvinger og klemmer
Tvinger og støtter
Limtvinge
Parallelklemmer
Fjærklemmer
Hurtigtvinger
Bygg og anlegg
Bits og bor
Bits - bitssett
Bor - borsett
Hullsag
Byggvarme og avfuktere
Byggvarmer direkte
Elektriske
Gass varmere
Avfuktere
Slanger og tilbehør
Dieselvarmere indirekte
Festemateriell
Skruer
Maskinspiker
Dykkspiker
Lys og Elektrisk
Arbeidslys
Lystårn
Skjøteledninger
merkepenner
Steinlegging
Platevibratorer
Steinkuttere
Spikerpistoler
Dykkpistoler
Krampepistoler
Spikerpistoler
Tvinger og støtter
Limtvinger
Kanttvinger
Teleskopstøtter
Limpresse
Landbruk og utstyr
Verksted
Løfteutstyr
Sekkestativ tralle
Skrustikker
Sveiseapparater
Søylebormaskiner
Traller
Verktøyvogner
Verktøysett
Arbeidslys
Kompressor
Tørk
Slipemaskiner
Våtslipemaskiner
Benkslipemaskin
Maskiner
Slåmaskiner
Feiemaskiner
Plenluftere
Gjerdeutstyr
Gjerdeappater
Tråd og bånd
Utstyr og rekvisita
Testere
Oljer og kjemikalier
Drivstofftilsetning
Wipes og håndrens
Olje
Skadedyrsbekjempelse
Fluefangere
Hodelykter
Økser
Park og hage
Ved
Motorsager
Vedkløyver
Vedkappsag
Maskiner
Kantklippere og ryddesager
Løvblåsere
Kompostkverner
Steinlegging
Platevibratorer
Steinkuttere
Feiemaskiner
Motorisert trillebår/dumper
Motorisert trillebår
Ekstrautstyr
Dumpere
Jord behandling
Jordsiktere
Jordhakker
Motorisert trillebår/dumper
Slåmaskiner
Gressklippere
Plenluftere
Robotklipp
Gress
Ekstrautstyr P55
Kombi maskiner
Ekstrautstyr Carry
Ekstrautstyr p70
Tilbud
RASK LEVERING
HØYKVALITETS PRODUKTER
Vis handlekurv
Handlekurven er tom
0
Total sum:
kr 0,00
Nullstill
Meny
Vis priser inkl. MVA
Logg inn
Registrer
Du er her:
/
Hjem
/
Reservedeler
/
Spaceheaters deler
/
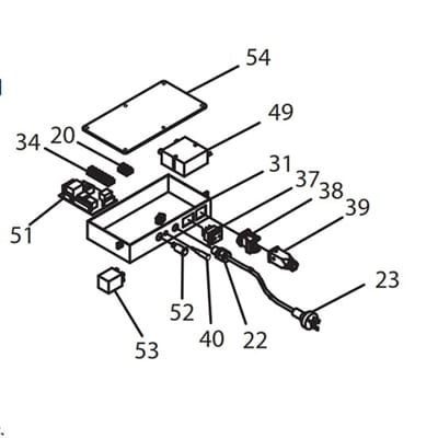
Kapslinmgsboks plast til C versjon
Kapslinmgsboks plast til C versjon
Produktnr.:
100122/G
kr 365,00
/
Stk
Kvantumsrabatt
1
stk
Kjøp
RASK LEVERING
HØYKVALITETS PRODUKTER
Bunndelen av kapsling for styringe
Nedre del av kontroll panelet.
Denne leveres tom og uten topp.
Toppdeksel 100124
Mest besøkt...
Kampanje
0
Scheppach Båndsag HBS30 med 3 sagblader
Pris
kr 2 495,00
/stk
Kampanje
0
Tormek Knivsliper sett KSK-106
Pris
kr 2 990,00
/stk
Kampanje
0
Scheppach Vedkløyver HL760LS
Pris
kr 3 995,00
/stk
Kampanje
0
Scheppach Dykksag PL 55 Med 2 stk 700mm skinne
Pris
kr 1 695,00
/sett
Kampanje
0
Scheppach Båndpusser BTS 900
Pris
kr 1 795,00
/stk
Kampanje
0
Scheppach HMS850
Pris
kr 3 999,00
/stk
Tilbehør
0
Styrekort til pro14 28 og 22cih
Pris
kr 1 160,00
/stk